蘋果手表APPLE WATCH露出 iwatch又添新功能(2)
蘋果手表APPLEWATCH露出,iwatch又添新功能!隨著蘋果手表2的專利流出,APPLEWATCH的新功能也浮出水面,iwatch到底有添加了什么新功能呢?又有什么專利呢?讓我們看看蘋果專利都多少新的內容吧!...
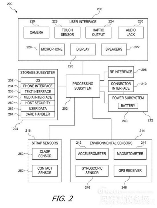
比較有趣的是,一個關注蘋果專利相關信息的網站Patently Apple認為,蘋果在Apple Watch上內置攝像頭主要是為了方便用戶掃描二維碼等信息。其實這樣的猜測也并不是沒有道理,因為Apple Watch與iPhone的定位還是有一定差別的,前者更注重實用性,而后者還需同等地兼顧娛樂。
當然,蘋果是一家科技巨頭,手里有著無數的專利,在產品正式發布之前到底哪些專利會投入實際生產,我們不得而知。不過,這搭載攝像頭的Apple Watch倒是挺值得期待的。

據此前消息,蘋果很有可能在今年9月的秋季發布會上推出Apple Watch 2。新的Apple Watch能否讓我們眼前一亮呢?
分享到:
投訴收藏

